给我们打电话

0523-84564182

发送邮件给我们

手机号码

13952623780
SDS系列隧道射流风机
当前所在位置: 首页 » 产品中心 » 防火排烟系列 » 消防风机系列 » SDS系列隧道射流风机

loading

分享到:

SDS系列隧道射流风机

状态:
数量:
产品描述

一、SDS系列隧道射流风机工作原理与特点

   1、SDS系列射流风机是一种轴流式通风机,适用于铁路、公路遂道的纵向通风,也可用于其它类似的通风场合。

   2、SDS系列射流风机一般悬挂在隧道顶部,可纵向串联式布置,也可在隧道同一个断面内并联布置,不占用交通面积,安装方便。

   3、该风机工作时,将隧道内的一部分空气从风机的进风端吸入,并以较高的动能从风机的出风端喷出,喷出的气流将能量传达给隧道内的剩余空气,推动隧道内的有害气体顺风机喷射气流的方向排出隧道,在此同时流入新鲜空气,降低隧道内的一氧化碳浓度,提高隧道的可见度。

   4、对于单向行车的隧道,射流风机的气流方向与行车方向一致,对于双向行车的隧道,视两个方向车流量的大小,确定通风方向。

   5、经优化设计的叶轮、气动性能佳、流量大、效率高。

   6、所在转动件经过精确动平衡,运转平稳(叶轮平衡精度G≤4.0mm/s)。

   7、风机钢结构件均经防腐处理,特殊情况下还可选用其它防腐材料。

   8、风机在-25℃~40℃的温度下可持续运行,高温情况下(≥250℃)允许短时间运行。


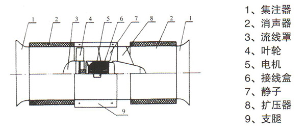
二、外形结构图

外形结构图


三、安装尺寸图

安装尺寸


四、性能参数

性能参数

上一条: 
下一条: